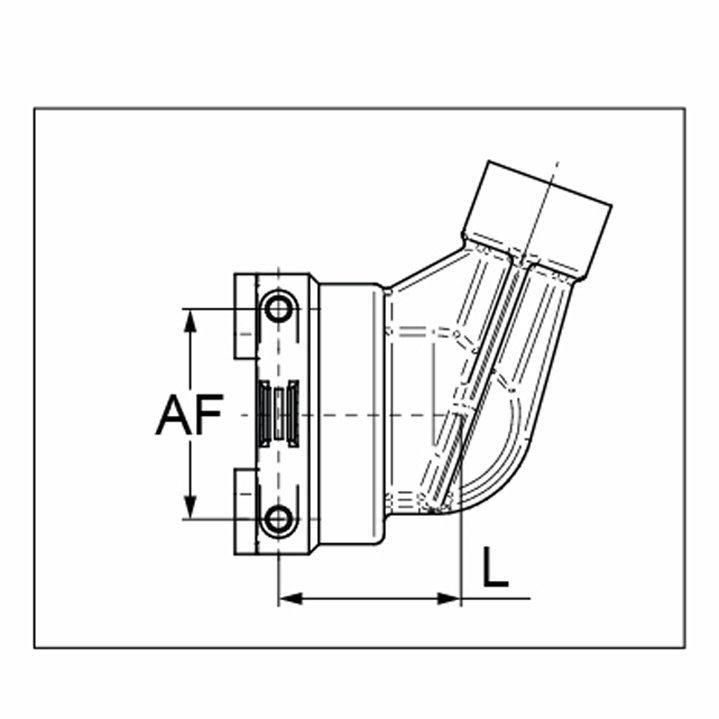
BRIDA PORTAMANÓMETRO

Empalmes de salida conexión horquilla. O-ring y horquilla no incluida en los racores. Ordenar separadamente.

BRIDA PORTAMANÓMETRO

 

Código

AF

L/mm

Fork

F00102039

5

37

F0000029